Mounting materials.
![]() |
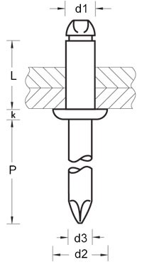
d1 diameter of the blind rivet L length of the blind rivet d2 diameter of the head / collar d3 diameter of the tow pin k head / collar height P length of the tow pin |
A blind rivet consists of a sleeve and a pull pin. The sleeve deforms and remains in the connection. The pull pin deforms the sleeve and breaks at the specific breaking point. The tow pin must break at the optimum clamping range. The materials to be attached only need to be accessible on one side. Large head blind rivets are suitable for use with soft materials (e.g. plastic, cardboard, wood, etc.).
Important when measuring a blind rivet are generally 3 sizes:
d1: the diameter of the blind rivet
L; the length of the blind rivet, with a cylinder head this is measured under the head, with a countersunk head this is the total length (incl. head)
d2: the diameter of the head. In 90% of cases, a standard head size is used, but for softer materials or materials where a wider bearing surface is required, a large head diameter is also used.
Important when applying a blind rivet:
More important than the length of a blind rivet is the clamping range of the blind rivet, which ensures that the blind rivet can build up the correct clamping force based on the sheet material to be clamped and that the pull pin breaks off when the optimal fastening is completed.





